テクニカルエンジニア(ネットワーク)過去出題問題平成17年 午後1 問2最終更新日 2006/02/26
|
| Tomのネットワーク勉強ノート |
| |
| |
| |
問2
ネットワークの構築に関する次の記述を読んで,設問1〜 4に答えよ。
医療用電子機器の製造販売業を営むF社の営業部門には,50名の営業担当者がおり,
社内LANに接続されたパソコン(以下,PCという)を利用して業務を行っている。
F社では,今年度の経営方針に従って,営業担当者1人に1台ずつ,容易に持ち運
びができるモバイル端末を貸与して,営業活動を強化する計画を立てた。モバイル端
末は,社外ではスタンドアロンで使用し,社内では無線LANを使って,社内のWeb
サーバやインターネットに接続し,使用するものとした。
新任のネットワーク管理担当者であるG君は,SI業者のシステムコンサルタントで
あるH氏に,新たなネットワーク構成について相談した。その結果,無線LANのア
クセスポイント(以下,無線APという)を社内LANに追加することにした。無線
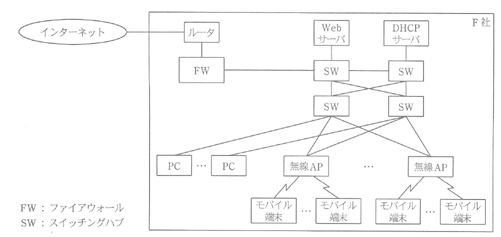
APを追加した社内LANのネットワーク構成を,図に示す。

図 無線APを追加した社内LANのネットワーク構成(抜粋)
〔ネットワークのレスポンス低下〕
G君が,社内LANに無線APを1台接続したところ,PCから社内のWebサーバや
インターネットヘのアクセスのレスポンスが低下した。しかし,1分ほどたつと, レ
スポンスの低下は解消し,社内のWebサーバやインターネットに通常どおリアクセス
できるようになった。その後も無線煙を追加するたびに,一時的なレスポンスの低
下が発生した。4台目の無線APを接続したところ,1分以上経過してもレスポンスの
低下が解消しなかった。4台目の無線APを調査したところ,電源制御部分に接続不良
があり,頻繁に電源がオン/オフされる状態であった。改障した無線APを代替機と
交換した後, しばらくして, レスポンスの低下は解消した。しかし,原因調査と対処
に時間が掛かってしまい,営業部門からクレームが付いた。
次は,ネットワークのレスポンス低下に関する,G君とH氏の会話である。
G君:なぜ, レスポンスの低下が発生したのか,原因を教えてください。確かに無線
APの故障はありましたが,それ以前にも無線APを社内LANに追加するたび
にレスポンスの低下が発生していました。
H氏:レスポンスの低下が発生したのは,SWがネットワークの利用を一時的に制限
して,【 a 】プロトコルによる【 b 】のやり取りを行っているから
です。従来から,御社の社内LANはSWで構成され,アクセス経路が複数あり,
ネットワークがループ状になっています。このネットワーク構成は,障害対策
として【 c 】を図る上では必要ですが,そのままでは通常の通信もルー
プしてしまいます。そこで, 【 a 】プロトコルを使って,ネットワーク内
の通信経路のループを解消させています。今回追加した無線APもSWの機能
をもっており, 【 a 】プロトコルに対応しています。したがって,無線
APを追加するたびに,一時的な短時間のレスポンスの低下が発生することがあ
ります。
G君:なるほど。無線APを追加するときには,社内L州のネットワーク全体への影
響を考慮しなければならないということですね。
H氏:そのとおりです。
すべての無線APの設置が完了し,G君は,営業部門と共同で運用テストを実施す
ることにした。まずは,営業担当者のうち20名にモバイル端末を貸与し,無線LAN
を使った運用テストを開始した。
G君:運用テストで実際に利用しているモバイル端末は5台程度なのに,DHCPサー
バで割り当てるIPアドレスが不足したのは,なぜでしょうか。確かに,すべて
のモバイル端末を同時に接続するには,IPアドレスが不足しますが,運用テス
トには十分だと思っていました。
H氏:モバイル端末の使用状況を調査したところ,IPアドレスが不足した時点で,実
際にネットワークに接続しているモバイル端末は5台だけでした。ところが,
DHCPサーバでは,10台分のIPアドレスがすべて割当て中の状態であり,@
実際には使用されていないIPアドレスが,割当て中の状態になっていました。
調査した時点で,使用されていないIPアドレスを割り当てられているモバイル
端末は,営業担当者が社外に持ち出しているものでした。
G君:DHCPは,今までもPCのIPアドレスを割り当てる際に使っており,特に問題
はありませんでした。なぜ,今回はIPアドレスが不足するようなことになった
のでしょうか。
H氏:DHCPサーバにおける,IPアドレスの割当てに関する設定が,モバイル端末の
使用方法に合っていなかったのです。本格的な運用を考えると,IPアドレスの
追加は望ましくありませんので,DHCPサーバの設定を一部変更してください。
そうすれば,IPアドレスの不足は解消するはずです。
G君:それでは,早速やってみます。
〔IPアドレスの不足〕
モバイル端末へのIPアドレスの割当ては,既存のDHCPサーバを利用することに
した。モバイル端末を貸与された20名の営業担当者のうち,平均して5名程度が在席
しているので,DHCPサーバで割り当てるIPアドレスを10個追加した。しかし,運
用テスト開始から3日ほどして,IPアドレスを取得できず,モバイル端末がネットワ
ークに接続できないことがあった。
次は,IPアドレスの不足に関する,G君とH氏の会話である。
G君:運用テストで実際に利用しているモバイル端末は5台程度なのに,DHCPサー
バで割り当てるIPアドレスが不足したのは,なぜでしょうか。確かに,すべて
のモバイル端末を同時に接続するには,IPアドレスが不足しますが,運用テス
トには十分だと思っていました。
H氏:モバイル端末の使用状況を調査したところ,IPアドレスが不足した時点で,実
際にネットワークに接続しているモバイル端末は5台だけでした。ところが,
DHCPサーバでは,10台分のIPアドレスがすべて割当て中の状態であり,@
実際には使用されていないIPアドレスが,割当て中の状態になっていました。
調査した時点で,使用されていないIPアドレスを割り当てられているモバイル
端末は,営業担当者が社外に持ち出しているものでした。
G君:DHCPは,今までもPCのIPアドレスを割り当てる際に使っており,特に問題
はありませんでした。なぜ,今回はIPアドレスが不足するようなことになった
のでしょうか。
H氏:DHCPサーバにおける,IPアドレスの割当てに関する設定が,モバイル端末の
使用方法に合っていなかったのです。本格的な運用を考えると,IPアドレスの
追加は望ましくありませんので,DHCPサーバの設定を一部変更してください。
そうすれば,IPアドレスの不足は解消するはずです。
G君:それでは,早速やってみます。
〔無線LANのセキュリティ〕
モバイル端末には,無線LANのセキュリティ対策としてWEPを採用した。運用テ
ストでは,定期的にWEPキーの変更を行い,変更のたびに営業担当者が,モバイル
端末の設定を変更するように指導した。しかし,複雑なキーでは営業担当者の設定ミ
スが起こりやすく,頻繁にWEPキーの変更を行うと,営業担当者の作業負担が大き
くなるという意見が寄せられた。
次は,無線LANのセキュリティに関する,G君とH氏の会話である。
G君:WEPキーの運用について,何か良い方法はないでしょうか。
H氏:そうですね,IEEE 802.1xの仕組みを導入してみてはどうでしょうか。これは,
モバイル端末のような無線LANのクライアントと無線APに加えて,
【 d 】サーバを導入して,アクセス制御を行うものです。クライアントと
無線APとの間では,ダイヤルアップ接続で利用されているPPPを拡張した
【 e 】 というプロトコルが使われます。AIEEE 802.lxの仕組みを導入し
ても,WEPは引き続き利用する必要がありますが,WEPキーの運用にかかわ
る営業担当者の作業負担を軽減することができます。
G君:それは良い考えですね。早速,IEEE 802.1xの仕組みを導入したネットワーク
設計に取り掛かります。
G君はネットワーク設計を手直しして,IEEE 802.1xの仕組みを導入し,運用テス
トを再開した。その後,運用テストは問題なく終了し,F社のネットワーク構成も整
い,モバイル端末を使った営業活動が開始された。
設問1
本文中の【 a 】〜【 e 】に入れる適切な字句を答えよ。
設問2
〔ネットワークのレスポンス低下〕について,(1),(2)に答えよ。
(1)無線APの故障によって, レスポンスの低下が解消しなかった原因は何か。
30字以内で述べよ。
(2)無線APを追加するとき,社内LANのネットワーク全体への影響を考慮して,
どのような対応をとるべきだったか。30字以内で具体的に述べよ。
設問3
〔IPアドレスの不足〕について,(1),(2)に答えよ。
(1)本文中の下線@を防止するためには,モバイル端末からDHCPサーバに対し
て,いつ,どのような操作をする必要があるか。30字以内で述べよ。
(2)H氏が指摘したDHCPサーバの設定変更とは,何をどのように変更すればよ
いか。20字以内で述べよ。
設問4
〔無線LANのセキュリティ〕について,(1),(2)に答えよ。
(1)H氏が本文中の下線Aのように指摘した理由は何か。30字以内で述べよ。
(2)IEEE 802.1xの仕組みの導入によって,WEPキーの運用にかかわる営業担当
者の作業負担をどのようにして軽減できるか。30字以内で具体的に述べよ。
| Tomのネットワーク勉強ノート |
| |
| |
| |